三溪子墓地位于重庆市江津区珞璜工业园,属珞璜镇郭坝村,小地名三溪子,墓地位处长江东岸,与九龙坡区铜罐驿镇冬笋坝隔江相望(图一)。2007年,为配合珞璜工业园玖龙纸业工程建设,重庆市文物考古所(现重庆市文物考古研究院)组织发掘工作队对位于征地区域内的三溪子墓地进行了抢救性发掘(图二),发掘墓葬共10座,其中汉代墓葬1座,宋代墓葬3座,明代墓葬3座,清代墓葬3座。

图一 江津三溪子墓地地理位置示意图

图二 江津三溪子墓地发掘远景
一、墓葬形制
(一)汉代墓葬
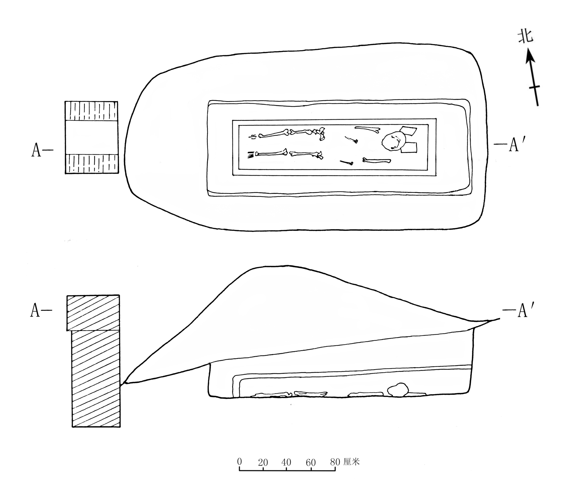
共发现汉代墓葬1座,编号2007JLSM5(简称M5,下同),为砖室墓,平面为“凸”字形,由甬道、墓室两部分组成,方向260°(图三)。甬道长1.9、宽1.4、残高2.8米,底部铺砖。墓室平面呈长方形,长2.9、宽2.4、残高1.3米,墓底以长方形砖横、竖向交错平铺。墓葬顶部拱券已被破坏,墓壁用长方形花纹砖横向错缝平砌。铺底砖长42、宽20、厚5厘米,墓壁砖长40、宽14、厚10厘米。
该墓被盗扰,葬具及人骨均已不存。

图三 M5平剖面图
(二)宋代墓葬
宋代时期墓葬共3座,均为双室石室墓,其中M10因施工破坏,形制已部分缺失,M1、M2形制基本完整,以下对这两座墓葬作简要介绍。
M1为同穴双室石室墓,方向270°。部分墓门被破坏,门前有八字挡墙。墓室采用石板及石块砌成,墓顶均为藻井顶,均有侧龛及后龛,墓底设石板棺床,长2.3、宽3.1米(图四)。填土为红褐色,土质较疏松,含少量石块。
图四 M1平剖面图
左墓室平面呈长方形;长2.3、宽1.45、高1.95米,两块石板封门,部分残缺,墓室左右侧各两个侧龛,以立柱隔开。左壁前侧龛雕刻人物乘轿出行图(图五,6),右壁前侧龛雕刻宴饮备侍图(图七,5),两壁后侧龛均雕刻插瓶花卉(图五,7;图五,8)。左壁立柱雕刻“福寿”(图六,1),右壁立柱雕刻“安乐”字样(图六,2)。后龛龛柱龛楣雕刻仿木牌楼结构,龛壁雕刻墓主人坐像及左右侍从像(图六,3),龛基雕刻一对奔鹿纹(图五,4),墓底铺长方形石板作棺床。
右墓室 平面呈长方形,长2.3、宽1.65、高1.8米,两块石板封门,部分残缺。左壁侧龛雕刻人物备茶图(图五,1),右壁侧龛雕刻人马出行图(图五,2),后龛龛基雕刻菱格花卉纹(图五,3),墓底铺长方形石板作棺床。
该墓被盗扰,葬具及人骨均已不存。

1.M1右室右壁拓片 2.M1右室左壁拓片 3.M1右室后龛龛基拓片 4.M1左室后龛龛基拓片 5.M1左室右壁前侧龛拓片 6.M1左室左壁前侧龛拓片 7.M1左室右壁后侧龛拓片 8.M1左室左壁后侧龛拓片
图五 M1墓室拓片

图六 M1墓室雕刻
M2为同穴双室石室墓,方向270°。石板封门,部分完好,墓门前有八字挡墙。墓室相邻壁共用,墓顶为藻井顶,均有侧龛及后龛,墓底设石板棺床,长3.4、宽3.2米。填土为灰褐色淤土,含少量石砾(图七)。

图七 M2平剖面图
左墓室 平面呈长方形,长3.1、宽1.56、高1.91米,多块石板封门,部分残缺。侧龛雕牡丹及鹿衔仙草图案(图八,1),后龛雕刻仿木结构梁架,内壁雕刻墓主人及侍从像(图八,2),龛基雕刻两格花卉纹(图九,1),墓顶雕刻双凤衔环与八卦图案(图一〇),墓底铺长方形石板作棺床。
右墓室 平面呈长方形,长2.9、宽1.54、高1.89米,多块石板封门,封门基本完好。侧龛雕牡丹及鹿衔仙草图案,后龛龛楣及侧壁雕刻仿木结构梁架,后壁雕刻墓主人及侍从像,龛基雕刻两格花卉纹(图九,2),墓底铺长方形石板作棺床。
左、右墓室内各平躺有1具人骨架,头向一致,为90°,均为仰身直肢葬,应为夫妻合葬,葬具不详。

图八 M2墓室雕刻
图九 M2墓室拓片

图一〇 M2藻井顶八卦双凤衔环雕刻
(三)明代墓葬
共发现3座明代墓葬,其中砖室墓1座,石室墓2座,其中单室石室墓M9因施工破坏,大部分形制已经缺失,以下对砖室墓M3与石室墓M4作简要介绍。
M3为单室砖室墓,方向270°,长3、宽1.7、高1.3米,平面大致为等腰梯形,墓室前端略宽于后端,墓顶用长方形砖竖向起券,前端部分顶部被破坏,墓壁用长方形墓砖错缝平砌,后龛以砖砌叠涩拱状(图一三)。填土为灰褐色淤土,夹杂大量螺壳。墓室内未发现人骨和葬具。

图一一 M3平剖面图
M4为单室石室墓,方向250°,平面为长方形,长1.5、宽1.1、高度0.8米。该墓由加工过的石板砌而成,两块石板封门,墓室呈长方形,墓室顶部用两块石板拼成平顶,底部为整块石板,两壁各由两块长方形石板侧立而成,无侧龛及后龛(图一四)。室内填土为灰褐色淤土。墓室内没有发现人骨、葬具,仅有零星骨渣。

图一二 M4平剖面图
(四)清代墓葬
共发现3座清代墓葬,全部为土坑墓,其中M7为竖穴土坑灰椁墓,一男一女合葬。M6与M8均为竖穴土坑墓,形制结构相似,即在缓坡上下挖长方形土坑墓穴,放置木棺后填以封土形成土冢,墓前有立碑,人骨及葬具朽烂,保存较差。下面以M8为例简要介绍。
M8为竖穴土坑墓,方向280°,平面大致为长方形,长2.2、宽0.8、封土堆高1.1米。该墓在斜坡上下挖长方形墓穴,放置木棺后填以封土形成土冢。填土为红褐色土,墓前立一墓碑(图二〇)。发现木棺及人骨1具,木棺已朽烂,人骨保存状况较差,仅余头骨及部分肢骨,为仰身直肢葬。

图一三 M8平剖面图
二、出土器物
三溪子墓地出土器物较少,汉代墓葬M5出土陶器31件,有陶罐、陶钵、陶俑、陶猪、陶鸡、陶房、陶盆等重庆地区东汉时期墓葬典型的随葬器物,因被盗扰器物凌乱而残破。宋墓中的M1在前端封土下出土石碑一件,砂岩石质,呈长方形,已残,中间阴刻“宋故塗氏留一娘子”,两边分别落款“淳祐十一年清明復土建立”“瀘州人事孝男苟□□□□”(图一四)。M2再右墓室出土瓷碗1件。明代墓葬中M9墓室后部出土瓷盏1件。清代墓葬仅M6的前部封土下发现石刻1件,形状不规则,表面阴刻“不許種”三字(图一五)。

图一四 M1出土石碑拓片
图一五 M6出土石刻拓片
三、初步认识
此次发掘汉代墓葬M5,为“凸”字形砖室墓,是重庆地区东汉时期常见的墓葬形制之一。墓葬共出土器物均为陶器,常见的有罐、甑、壶、豆、案、房屋模型及各种俑等,都是重庆地区东汉时期墓葬常见的随葬品,与重庆地区丰都汇南等地发现的同类器物极为相似[1],M5墓葬的时代应为东汉时期。宋代墓葬均为双室石室墓,M1发现的石碑铭文落款记载年代为南宋淳祐十一年,另外两座墓葬墓室的仿木结构及花卉图案等雕刻,也是重庆地区南宋时期普遍流行的石室墓样式,与《南方地区宋代墓葬研究》中的Ab型石室墓相似[2],这三座宋墓年代应定在南宋时期。明清时代的墓葬发现6座,1座砖室墓及2座石室墓的形制为四川盆地明墓的常见形制[3],应为明代墓葬。3座土坑墓有墓碑与部分棺木留存,应为清代墓葬。
三溪子墓地涉及时代较长,但所发现墓葬的选址、朝向有较大的延续性,反映了该地区丧葬文化的传承性。这批墓葬的发现,为研究渝西地区汉墓和宋明墓葬,提供了一批实物资料,M1是重庆地区少见的出土明确纪年碑刻文物的宋代墓葬,其墓室的人物雕刻,也是重庆地区宋墓人物雕刻中的精品,M2左室墓顶的八卦双凤衔环装饰为研究宋人的宗教信仰、生死观念提供了重要实物。清代墓葬M6出土的“不許種”石刻也为古代墓葬保护研究提供了物证资料 。
注释:
[1] 四川省文物研究所、丰都县文管所:《丰都汇南墓地发掘报告》,载《重庆库区考古报告集》(1998卷),科学出版社,2003年7月第一版。
[2] 吴敬:《南方地区宋代墓葬研究》,社会科学文献出版社,2015年。
[3] 王皓天:《四川盆地明代墓葬研究》,吉林大学2024年硕士学位论文,2025年第04期。
执笔:张振宇